Путеизмеритель
(греч. hodometron, лат. hodometer), приспособление, отсчитывающее, подобно совр. километровому счётчику, длину пройд. повозкой пути по кол-ву сделанных колёсами оборотов. Это устройство применялось при проведении Агриппой по приказу Августа межевания пров. и широко использовалось для определения места установки мильных камней. Дошедшие до нас чертежи рим. времени делают возможной реконструкцию античного П.

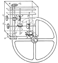
Путеизмеритель.
Путеизмеритель Витрувия.
Штифт А на оси при каждом обороте приводит в движение шестерню В. На оси В – В´ насажен бесконечный винт С, который приводит в движение шестерню D, а соединённый с ней параллельно диск указателя Е1 показывает количество пройдённых саженей. На соответствующей оси Е–Е1 вращается бесконечный винт F, приводящий в движение шестерню G. Бесконечный винт Н на оси G–G´ переносит отсчёт на шестерню J, т. о., на диске указателя Е1 подсчитывается число стадиев. Ещё один перенос через L и К–К´ позволяет видеть на диске Е2 число пройдённых миль. Кроме того, после каждой мили в трубку М через дырчатый диск Е3 при каждом точном совпадении отверстия на диске с отверстием трубки в последнюю падал шарик, достигавший счётного ящика А, что позволяло производить, помимо визуального, также и акустический контроль пройдённого расстояния
